A1MM3025

  • A1MM3025
A1MM3025

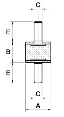
Parametrai

A (mm): 30
B (mm): 25
C (mm): M8
E (mm): 20
Max gniuždymo apkrova (daN): 66
Max kirpimo jėga (daN): 9
Pasiteirauti apie prekę


Išmatavimai