A1MM3020

  • A1MM3020
A1MM3020

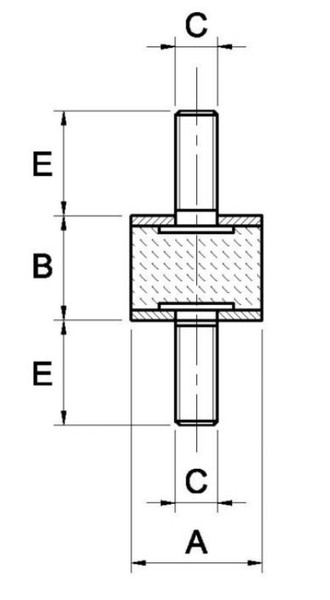
Parametrai

A (mm): 30
B (mm): 20
C (mm): M8
E (mm): 23
Max gniuždymo apkrova (daN): 66
Max kirpimo jėga (daN): 9
Pasiteirauti apie prekę


Išmatavimai